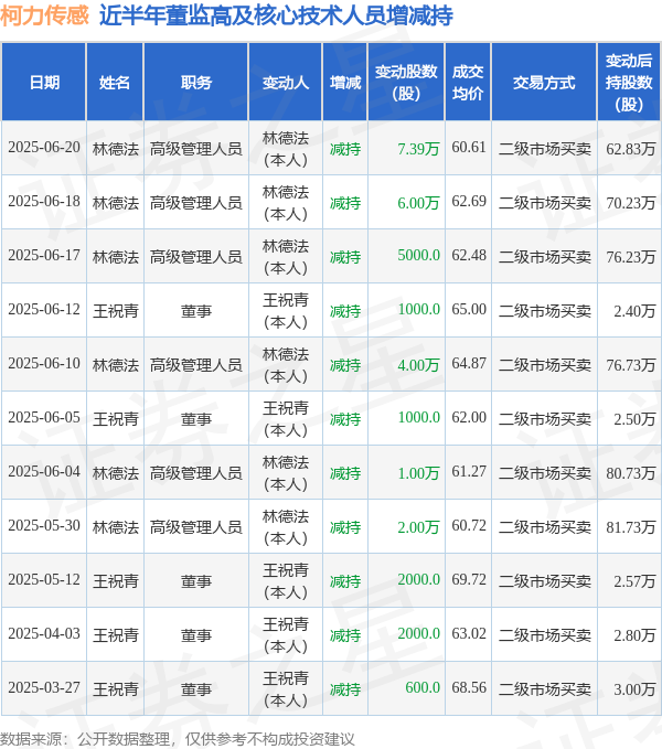
证券之星消息,根据6月23日市场公开信息、上市公司公告及交易所披露数据整理,柯力传感(603662)最新董监高及相关人员股份变动情况:2025年6月20日公司高级管理人员林德法共减持公司股份7.39万股,占公司总股本为0.0262%。变动期间公司股价下跌3.29%,6月20日当日收盘报60.24元。
柯力传感近半年内的董监高及核心技术人员增减持详情如下:
柯力传感的高管列表及最新持股情况如下:
融资融券数据显示该股近5日融资净流出8723.69万,融资余额减少;融券净流出200.0,融券余额减少。
该股最近90天内共有9家机构给出评级,买入评级7家,增持评级2家;过去90天内机构目标均价为88.56。
以上内容为证券之星据公开信息整理,由AI算法生成(网信算备310104345710301240019号),不构成投资建议。
股票配资平台网站,线上配资炒股网站,股票策略平台提示:文章来自网络,不代表本站观点。